欢迎光临合肥蔚然环境科技有限公司
您现在所在的位置:首页 > 新闻资讯 > 科技标准 >

科技标准

企业经营过程中环保手续办理流程

1、企业生命周期环境保护合规管理流程

23e816bf6b5e6aec0f165b54440a1c67.jpg

2、环境影响评价流程

aa17ed07fb655a2e40b60fc56f2ad9fa.jpg

3、排污许可申领流程

e4eb46b46bf075aec85b0a97101c49bb.jpg

4、突发环境事件应急预案工作流程

faf618d3ba733bedd4b9888935ed577e.jpg

5、竣工环境保护验收工作流程

588a53c53c8510368250cd95d76af548.jpg

6、清洁生产审核流程

92d61808d0cdc7643f43cf3db08ebb77.jpg

7、拆除活动污染防治流程

ca1dd6c35bdd9780a4430a51e9dbebc7.jpg

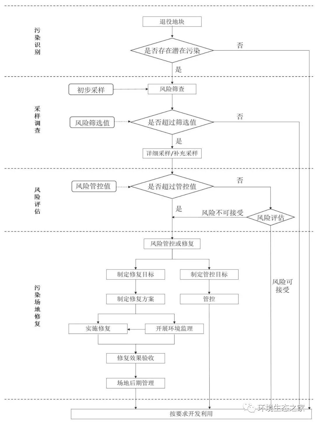
8、场地调查与修复流程

a905dac73281fc0dd5e80638a684cb09.jpg



来源:环评互联网


栏目导航

联系我们

电话:199 6528 3676

邮箱:68287632@qq.com

地址: 安徽省合肥市高新区创新大道2800号合肥软件园二期J2栋C座

>