根据条例第18条
▶排污单位应当按《排污口规范化整治技术要求》规定对污水排放口、废气排放口、固体废物贮存、堆放场及固定噪声排放源设置排污口+标识牌。
▶污染物排放口位置和数量、污染物排放方式和排放去向应当与排污许可证规定相符。
▶实施新建、改建、扩建项目和技术改造的排污单位,应当在建设污染防治设施的同时,建设规范化污染物排放口。
自行监测如何落实
根据条例第19条
▶排污单位应当按照排污许可证规定和有关标准规范,依法开展自行监测,并保存原始监测记录。原始监测记录保存期限不得少于5年。排污单位应当对自行监测数据的真实性、准确性负责,不得篡改、伪造。
注意:重点管理类排污单位
根据条例第20条
▶实行排污许可重点管理的排污单位,应当依法在规定安装自动监测设施的排放口安装、使用、维护污染物排放自动监测设备,并与生态环境主管部门的监控设备联网。
▶排污单位发现污染物排放自动监测设备传输数据异常的,需要及时报告生态环境主管部门,并进行检查、修复。
管理台帐和执行报告的要求是什么
根据条例第21条
▶排污单位需建立环境管理台账记录制度,按照行业排污许可技术规范、环境管理台账及执行报告总则,按照排污许可证规定的格式、内容和频次,如实记录主要生产设施、污染防治设施运行情况以及污染物排放浓度、排放量,环境管理台账记录保存期限不得少于5年。
根据条例第22条
▶排污单位应当按照排污许可证规定的内容、频次和时间要求,向审批部门提交排污许可证执行报告,如实报告污染物排放行为、排放浓度、排放量等。
▶排污许可证有效期内发生停产的,排污单位应当在排污许可证执行报告中如实报告污染物排放变化情况并说明原因。(处于停产期的企业也需要提交执行报告)
信息公开内容有哪些
根据条例第23条
▶排污单位应当按照排污许可证规定,如实在全国排污许可证管理信息平台上公开以下信息:
1、污染物排放种类;
2、排放浓度和排放量;
3、污染防治设施的建设运行情况;
4、排污许可证执行报告;
5、自行监测数据等。
▶对于水污染物排入市政排水管网的排污单位,公开信息还应当包括污水接入市政排水管网位置、排放方式等信息。
排污许可证执行报告如何编制
01 报告分类
报告分类:按报告周期分为年度执行报告、季度执行报告和月度执行报告。
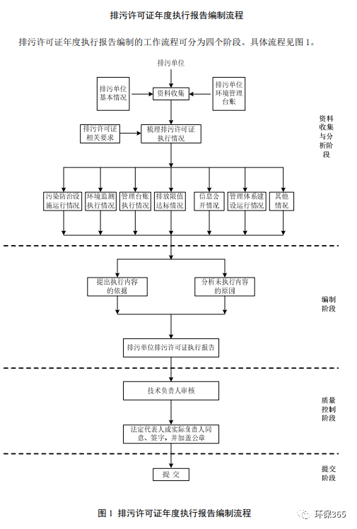
02 编制流程
包括资料收集与分析、编制、质量控制、提交四个阶段。
第一阶段(资料收集与分析阶段):收集排污许可证及申请材料、历史排污许可证执行 报告、环境管理台账等相关资料,全面梳理排污单位在报告周期内的执行情况。
第二阶段(编制阶段):针对排污许可证执行情况,汇总梳理依证排污的依据,分析违 证排污的情形及原因,提出整改计划,在全国排污许可证管理信息平台填报相关内容。
第三阶段(质量控制阶段):开展报告质量审核,确保执行报告内容真实、有效,并经 排污单位技术负责人签字确认。
第四阶段(提交阶段):排污单位在全国排污许可证管理信息平台提交电子版执行报告, 同时向有排污许可证核发权的环境保护主管部门提交通过平台印制的经排污单位法定代表 人或实际负责人签字并加盖公章的书面执行报告。电子版执行报告与书面执行报告应保持一致。

03 编制内容
排污单位应对提交的排污许可证执行报告中各项内容和数据的真实性、有效性负责,并自愿承担相应法律责任;应自觉接受环境保护主管部门监管和社会公众监督,如提交的内容和数据与实际情况不符,应积极配合调查,并依法接受处罚。排污单位应对上述要求作出承诺,并将承诺书纳入执行报告中。
年度执行报告:
排污单位基本情况
污染防治设施运行情况
自行监测执行情况
环境管理台账执行情况
实际排放情况及合规判定分析
信息公开情况
排污单位内部环境管理体系建设与运行情况
其他排污许可证规定的内容执行情况
其他需要说明的问题、结论、附图附件等
对于排污单位信息有变化和违证排污等情形,应分析与排污许可证内容的差异,并说明原因。
排污单位基本情况
说明排污许可证执行情况,包括排污单位基本信息、产排污节点、污染物及污染防治设施、环境管理要求等。
按照生产单元或主要工艺,分析排污单位的生产状况,说明平均生产负荷、原辅料及燃料使用等情况;说明取水及排水情况;对于报告期内有污染防治投资的,还应说明防治设施建成运行时间、计划总投资、报告周期内累计完成投资等。
说明排放口规范性整改情况(如有)。
新(改、扩)建项目环境影响评价及其批复、竣工环境保护验收等情况。
其他需要说明的情况,包括排污许可证变更情况,以及执行过程中遇到的困难、问题等。
污染防治设施运行情况
正常情况说明。分别说明有组织废气、无组织废气、废水等污染防治设施的处理效率、药剂添加、催化剂更换、固废产生、副产物产生、运行费用等情况,以及防治 设施运行维护情况。
异常情况说明。排污单位拆除、停运污染防治设施,应说明实施拆除、停运的原因、起止日期等情况,并提供环境保护主管部门同意文件;因故障等紧急情况停运污染防治设施,或污染防治设施运行异常的,排污单位应说明故障原因、废水废气等污 染物排放情况、报告提交情况及采取的应急措施。
如发生污染事故,排污单位应说明发生事故次数、事故等级、事故发生时采取的措施、污染物排放、处理情况等信息。
自行监测执行情况
说明自行监测要求执行情况,并附监测布点图。
对于自动监测,说明是否满足 HJ 75、HJ 76、HJ/T 353、HJ/T 354、HJ/T 355、HJ/T 356、HJ/T 373、HJ 477 等相关规范要求。说明自动监测系统发生故障时,向环境保 护主管部门提交补充监测和事故分析报告的情况。
对于手工监测,说明是否满足 GB/T 16157、HJ/T 55、HJ/T 91、HJ/T 373、HJ/T 397 等相关标准与规范要求。
对于非正常工况,说明废气有效监测数据数量、监测结果等。
对于特殊时段,说明废气有效监测数据数量、监测结果等。
对于有周边环境质量监测要求的,说明监测点位、指标、时间、频次、有效监测数据数量、监测结果等内容,并附监测布点图。
对于未开展自行监测、自行监测方案与排污许可证要求不符、监测数据无效等情形, 说明原因及措施。
环境管理台账执行情况
说明是否按排污许可证要求记录环境管理台账的情况。
实际排放情况及合规判定分析
以自行监测数据为基础,说明各排放口的实际排放浓度范围、有效数据数量等内容。
按照《排污许可证申请与核发技术规范 总则》,核算排污单位实际排放量,给出计算方法、所用的参数依据来源和计算过程,并与许可排放量进行对比分析。
对于非正常工况,说明发生的原因、次数、起止时间、防治措施等。
对于特殊时段,说明各污染物的排放浓度及达标情况等。
对于废气污染物超标排放,应逐时说明;对于废水污染物超标排放,应逐日说明;说明内容包括排放口、污染物、超标时段、实际排放浓度、超标原因等,以及向环境保护主管部门报告及接受处罚的情况。
说明实际排放量与生产负荷之间的关系。
排污单位内部环境管理体系建设与运行情况
说明环境管理机构及人员设置情况、环境管理制度建立情况、排污单位环境保护规划、环保措施整改计划等。
说明环境管理体系的实施、相关责任的落实情况。
其他排污许可证规定的内容执行情况
说明排污许可证中规定的其他内容执行情况。
其他需要说明的问题
对于违证排污的情况,提出相应整改计划。
结论
总结排污单位在报告周期内排污许可证执行情况,说明执行过程中存在的问题,以及下一步需进行整改的内容。
附图附件
附图包括自行监测布点图等。执行报告附图应清晰、要点明确。
附件包括污染物实际排放量计算过程、非正常工况证明材料,以及支持排污许可证执行报告的其他材料。
季度/月度执行报告:
污染物实际排放浓度和排放量
合规判定分析
超标排放或污染防治设施异常情况说明等内容
其他
季度执行报告
各月度生产小时数
主要产品及其产量
主要原料及其消耗量
新水用量及废水排放量
主要污染物排放量
其他
简化管理要求
实行简化管理的排污单位,应提交年度执行报告与季度执行报告。
年度执行报告内容应至少包括排污单位基本情况、污染防治设施运行情况、自行监测执行情况、环境管理台 账执行情况、实际排放情况及合规判定分析、结论等;季度执行报告至少包括污染物实际排 放浓度和排放量,合规判定分析,超标排放或污染防治设施异常情况说明等内容。
排污单位基本情况
说明排污许可证执行情况,包括排污单位基本信息、产排污节点、污染物及污染防治设施、环境管理要求等。
说明排放口规范性整改情况(如有)。
污染防治设施运行情况
正常情况说明。分别说明有组织废气、无组织废气、废水等污染防治设施的运行时间、污水处理量、脱硫脱硝剂用量、运行费用等情况。
异常情况说明。排污单位拆除、停运污染防治设施,应说明实施拆除、停运的原因、 起止日期等情况,并提供环境保护主管部门同意文件;因故障等紧急情况停运污染防治设施,或污染防治设施运行异常的,排污单位应说明故障原因、废水废气等污染物排放情况、报告提交情况及采取的应急措施。
如发生污染事故,排污单位应说明发生事故次数、事故等级、事故发生时采取的措施、污染物排放、处理情况等信息。
自行监测执行情况
说明自行监测要求执行情况,并附监测布点图。
对于自动监测,说明是否满足 HJ 75、HJ 76、HJ/T 353、HJ/T 354、HJ/T 355、HJ/T 356、HJ/T 373、HJ 477 等相关规范要求。说明自动监测系统发生故障时,向环境保 护主管部门提交补充监测和事故分析报告的情况。
对于手工监测,说明是否满足 GB/T 16157、HJ/T 55、HJ/T 91、HJ/T 373、HJ/T 397 等相关标准与规范要求。
对于非正常工况,说明废气有效监测数据数量、监测结果等。
对于特殊时段,说明废气有效监测数据数量、监测结果等。
对于有周边环境质量监测要求的,说明监测点位、指标、时间、频次、有效监测数 据数量、监测结果等内容,并附监测布点图。
对于未开展自行监测、自行监测方案与排污许可证要求不符、监测数据无效等情形,说明原因及措施。
实际排放情况及合规判定分析
以自行监测数据为基础,说明各排放口的实际排放浓度范围、有效数据数量等内容。
按照《排污许可证申请与核发技术规范总则》,核算排污单位实际排放量,给出计算方法、所用的参数依据来源和计算过程,并与许可排放量进行对比分析。
对于非正常工况,说明发生的原因、次数、起止时间、防治措施等。
对于特殊时段,说明各污染物的排放浓度及达标情况等。
对于废气污染物超标排放,应逐时说明;对于废水污染物超标排放,应逐日说明;说明内容包括排放口、污染物、超标时段、实际排放浓度、超标原因等,以及向环境保护主管部门报告及接受处罚的情况。
说明实际排放量与生产负荷之间的关系。
结论
总结排污单位在报告周期内排污许可证执行情况,说明执行过程中存在的问题,以及下一步需进行整改的内容。
04 报告周期
排污单位按照排污许可证规定的时间提交执行报告,应每年提交一次排污许可证年度执行报告;同时,还应依据法律法规、标准等文件的要求,提交季度执行报告或月度执行报告。
年度执行报告:对于持证时间超过三个月的年度,报告周期为当年全年(自然年);对于持证时间不足三个月的年度,当年可不提交年度执行报告,排污许可证执行情况纳入下一年度执行报告。
季度执行报告:对于持证时间超过一个月的季度,报告周期为当季全季(自然季度);对于持证时间不足一个月的季度,该报告周期内可不提交季度执行报告,排污许可证执行情况纳入下一季度执行报告。
月度执行报告:对于持证时间超过十日的月份,报告周期为当月全月(自然月);对于持证时间不足十日的月份,该报告周期内可不提交月度执行报告,排污许可证执行情况纳入下一月度执行报告。



来源:环保365
电话:199 6528 3676
邮箱:68287632@qq.com
地址: 安徽省合肥市高新区创新大道2800号合肥软件园二期J2栋C座